Вилочный кабельный наконечник SNBS 1.25 - 5, диаметр 5.3мм, 0.5 - 1.5мм2, неизолированный, 100 шт, Netko
- Обзор
- Характеристики
- Отзывы (0)
Вилочный наконечник используют для того, чтобы оконцовывать гибкие многожильные медные провода. Используются такие наконечники при монтаже электрических узлов, они легко крепятся к токоведущей шине. Их использование желательно при создании электрический соединений, при которых может потребоваться оперативное прерывание цепи.
Используются для выполнения контактных соединений, которые защищены от повреждений и расплетения проволок кабеля. В изолированном наконечнике колпачок отлично защищает место обжима кабеля от влаги и механических воздействий.
Применение вилочных наконечников дает возможность существенно ускорять электромонтажные работы. Требуется меньше времени для подготовки провода, а сам обжим происходит в считанные секунды. При этом остается возможность неоднократного отсоединения и присоединения проводов.
Аббревиатура :
-изолированные: НВИ
-неизолированные: НВ
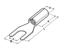
В названии буквой «d» обозначается рабочий диаметр штекера. Также в названии указано сечение проводника, для которого подойдет тот или иной наконечник.
В ассортименте представлены вилочные наконечники для кабеля диаметром от 3,2мм до 8,4мм
Сечение проводника от 0,5мм2 до 6мм2





